今日,有媒体报道称哪吒汽车原CEO张勇被曝已于离职前办理英国签证,目前身在英国,相关话题引发热议。对此,张勇今天在朋友圈回应,“感谢大家关心,看到网络上一些传闻,至今仍担任哪吒汽车顾问,为公司四处奔波融资。”
2024年12月,哪吒汽车称因公司战略调整,张勇不再担任CEO,由哪吒汽车创始人、董事长方运舟兼任公司CEO。

此前,还有传闻称张勇已经去物流商用车品牌——德力新能源汽车大力牛魔王任职,有媒体联系张勇本人,张勇回了一句“纯属瞎扯淡”。
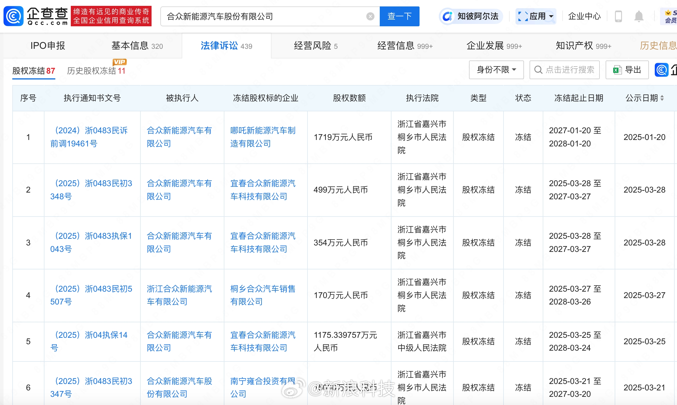
据企查查APP显示,张勇目前仍为哪吒汽车关联公司合众新能源汽车股份有限公司总经理职务。该公司成立于2014年10月,法定代表人方运舟,注册资本28亿余元,当前该公司名下关联多起被执行人信息、限制高消费信息,被执行总金额超1.6亿余元,并涉及超80条股权冻结信息。


