未来MacBook或用可拆卸摄像头与可旋转屏幕取代“刘海”
一项最新公开的专利申请显示,苹果正研究为未来 MacBook 重新设计摄像头与屏幕结构,包括用从机身中“长出来”的可拆卸摄像头模块,甚至配合可旋转、可拆卸的显示屏,从而替代现有的屏幕“刘海”方案。
目前 MacBook Pro 的 FaceTime 摄像头一直被认为不如 iPhone,同样尺寸超薄的屏幕上很难塞进更大、更复杂的摄像模组,这也被视为苹果在笔记本上迟迟未引入 Face ID 的重要限制因素之一。

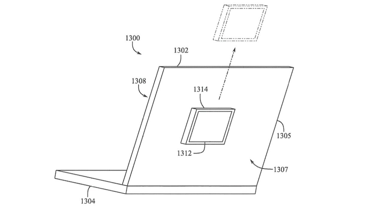
根据名为“便携式电子设备的摄像头集成”(Camera integration for portable electronic devices)的专利文件,苹果并没有继续在“变薄”方向上纠结,而是转向优先满足摄像头系统的体积和性能需求。专利图纸显示,新摄像头模块厚度可做到不超过约 3 毫米,但会从 MacBook Pro 上盖的表面明显凸起。苹果在专利中多次描述,该摄像头模块可以设置在显示组件顶部开出的刘海位置,也可以被移动到屏幕一侧,甚至从正面拆下并固定到屏幕背面。
专利描述的“光学组件”通过磁性等“保持组件”固定在机身或显示组件上,能够实现可拆卸、可重定位的安装方式。文件中还多次提到多个摄像头模块之间的通信场景,例如一枚摄像头从屏幕正面朝向用户,另一枚则从屏幕后方向外拍摄。这意味着未来的 MacBook 有可能在单一设备上实现前后双向拍摄,与当年 iPhone 11 曾展示过的前后摄像头同时录制功能有些类似,只不过这一次发生在笔记本形态之上。
在视频会议或采访场景中,这种设计提供了更多想象空间。例如,用户可以在键盘前通过内置摄像头参与会议,同时利用背面的模块拍摄对面的受访者或会议室环境。不过从现有专利描述来看,这种“前后同时拍摄”的实际构图和使用体验仍存在不少疑问,比如不同参与者相对屏幕的位置以及取景角度是否足够自然。

除了摄像头本身,专利还进一步触及显示部分的结构变化。申请文件提到,这类便携设备可采用“包括输入部件的基础部分,以及可相对基础部分旋转连接的显示部分”的设计。这意味着用户可以将额外的摄像头模块安装在 MacBook Pro 机身背面,通过旋转整个显示部分来获得合适拍摄角度;或者将模块装在正面,通过旋转屏幕来使用其内置的 LiDAR 等传感组件。

更激进的设想是,显示部分不仅可以绕轴旋转,还可以整体从机身上拆下、翻转,然后重新插回原位。在这一方案下,MacBook 的上盖类似一块可插拔的显示板,既可以正向用作传统笔记本屏幕,也可以翻转后用作另一种显示形态,甚至与键盘底座形成更灵活的组合。专利本身并未深入展开“可配置屏幕或键盘单元”的更多应用,只是为这种可拆卸、可翻转结构预留了空间。
值得注意的是,这份申请并非苹果首次在这一方向上发力。在 2024 年,苹果曾提交过看起来几乎相同的专利内容,并且在此之前已经获得过相关专利授权。在外界看来,反复申请可能与法律或程序性要求有关,但至少说明苹果仍在持续推进这一思路,而非一次性的技术试探。

与很多只停留在纸面上的概念不同,这份专利并未花太多篇幅讨论旋转或拆卸屏幕在具体使用层面的“卖点”,而是将重点放在如何在现有超薄机身限制下,为 MacBook 引入体积更大、类型更多样的摄像头和传感器模块。理论上,一旦屏幕结构能够旋转甚至拆卸,内部走线带来的折弯损耗问题可以通过无线显示等方式部分化解,未来类似 Sidecar 的无线扩展屏体验也可能以更独立的形态集成在 MacBook 本体之中。
这份专利申请列出了四位发明人,其中包括曾参与“用一整块玻璃打造 iMac”设计研究的 Keith J. Hendren,再次体现出苹果在整机结构和材料运用上的激进探索依旧持续。至于可拆卸摄像头和可旋转、可翻转屏幕究竟能否进入量产 MacBook,目前仍难以下定论,但从不断出现的相关专利来看,未来的 Mac 笔记本在形态和交互方式上,可能远不止于在屏幕上挖一个“刘海”这么简单。
踩一下[0]

站长云网
顶一下[0]